Pravi nosači izolatora
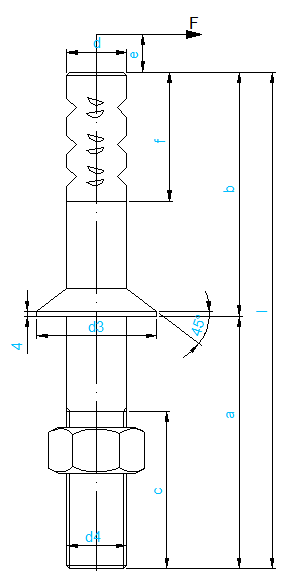
Nosači izolatora za nadzemne vodove za napone iznad 1kV
JUS N.F1.501



Nosači izolatora za nadzemne vodove za napone iznad 1kV
JUS N.F1.501



Laze Lazarevića 42, Novi Sad
Telefon:
021/ 466-351
636-88-80
636-88-92
636-95-66
469-098